华体会体育最新地址本科招生录取情况
河南省
艺术类


注:控制分数线为舞蹈类265/225、戏剧影视表演方向312/233、播音与主持类347/214。
体育类


注:控制分数线为320(文)327(理)/103。
普通类



征集类


甘肃省



注:控制分数线为278/209。
湖南省







注:控制分数线为295/243。
河北省

注:控制分数线为舞蹈类316/200、美术与设计类316/180。


注:控制分数线为体育315(历史)310(物理)/270。
湖北省



注:控制分数线为324/196。
安徽省

注:控制分数线为462(历史)465(物理)/144。
辽宁省















注:控制分数线为美术与设计类、播音与主持类、音乐类(音乐教育)300(历史)276(物理)/180;舞蹈类、表演类、音乐类(音乐表演)
250/180。


注:控制分数线为150/45。
天津市

注:控制分数线为475。
山东省

福建省

陕西省

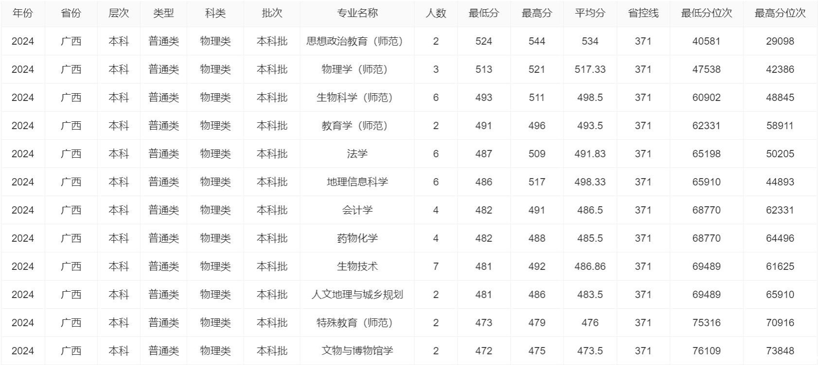
广西壮族自治区



宁夏回族自治区

内蒙古自治区


上海市

安徽省


黑龙江省


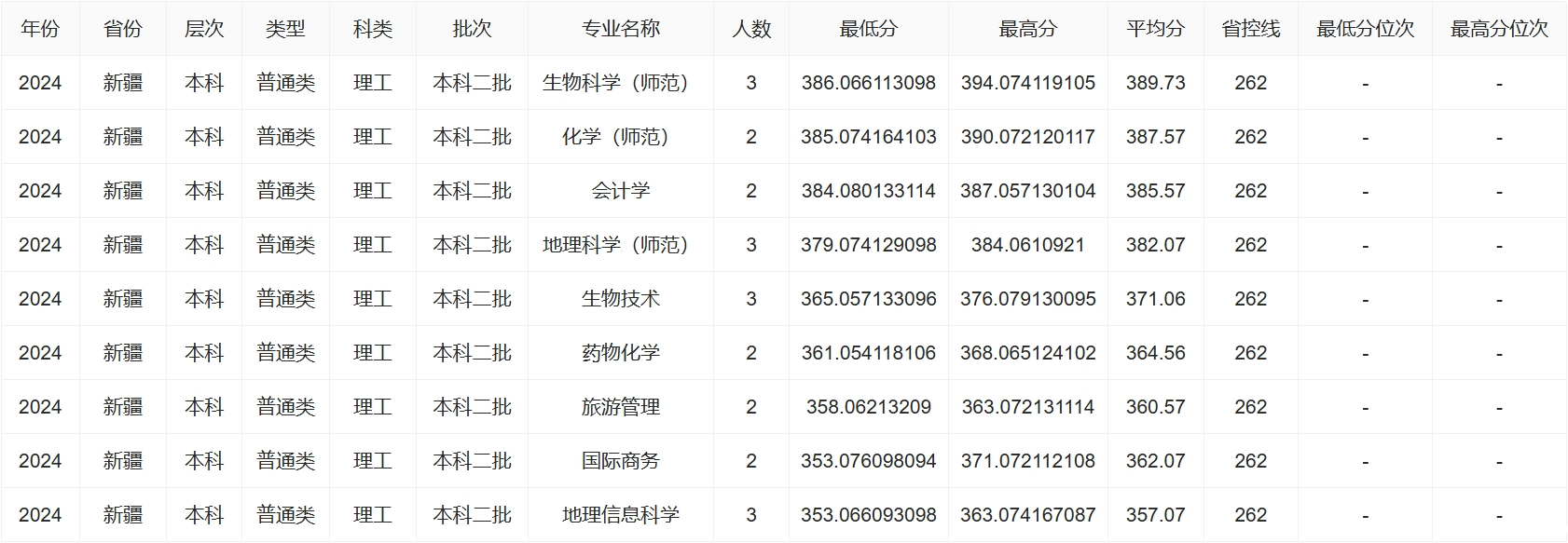
新疆维吾尔自治区
普通类




新疆南疆单列

对口援疆定向(八师)

对口援疆定向(塔城)


新疆班




预科班




四川省


山西省
普通类


中外合作办学


艺术类





运动训练单招

西藏自治区






注:A类考生指区内世居两代(含两代)以上少数民族考生;B类考生指汉族及区外少数民族考生。
云南省




更多信息
(一)华体会体育最新地址2024年本科录取结果查询:华体会体育最新地址本科录取结果查询 (zjzw.cn)
(二)华体会体育最新地址往年本科招生录取情况:华体会体育最新地址本科招生录取情况 (zjzw.cn)
(三)华体会体育最新地址2024年入学须知:华体会体育最新地址2024年入学须知-本科生招生网 (lnnu.edu.cn)